专利数据库
统计分析
产业报告
专利数据监控
产业人才
行业动态
产业政策法规
维权援助
个人中心
详情
文本
图像
标题
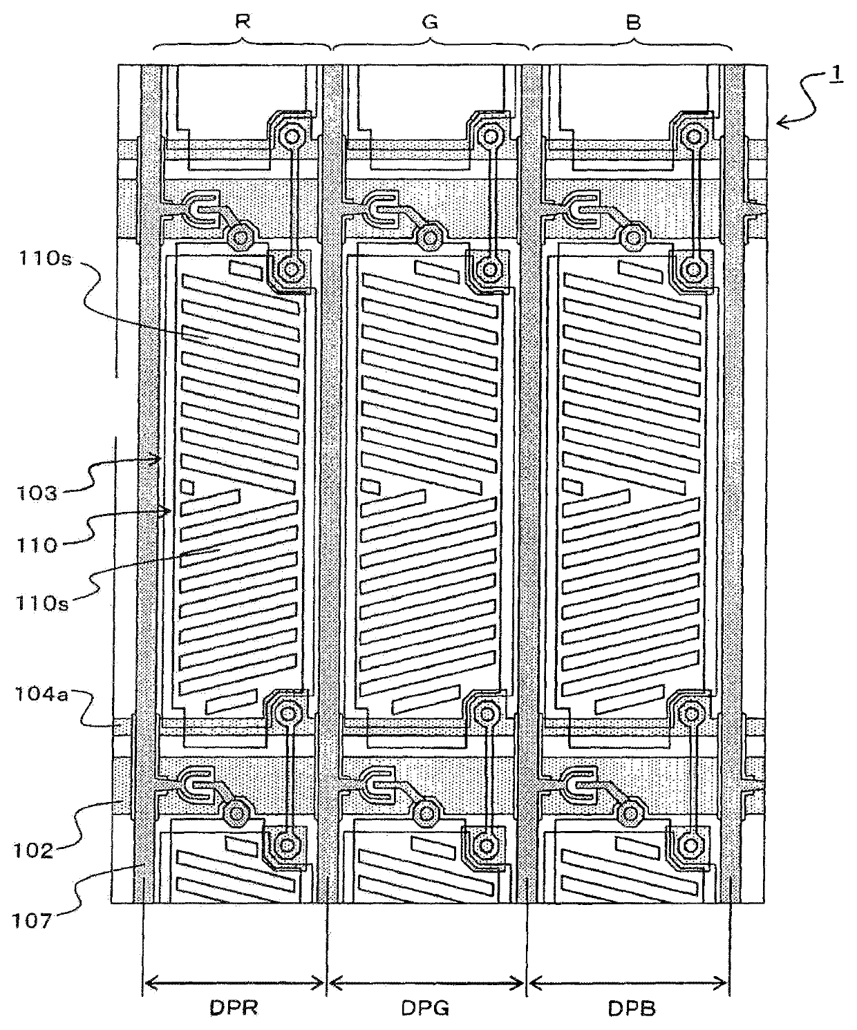
Display device
授权日
2020-02-04
公开(公告)号
US10551706
申请日
2019-03-01
公开(公告)日
2020-02-04
当前申请(专利权)人
JAPAN DISPLAY INC. | PANASONIC LIQUID CRYSTAL DISPLAY CO., LTD.
发明人
MORI, IKUKO | MOTOOKA, MUNENORI | OKE, RYUTARO | OJIMA, KAZUNORI | ONO, KIKUO
简单同族
CN101592815A | CN101592815B | CN1892369A | CN1892369B | JP2007017619A | JP4717533B2 | KR100861435B1 | KR1020070005523A | TW200707040A | TWI339301B | US10254611 | US10551706 | US20070008242A1 | US20100128210A1 | US20110317110A1 | US20130265531A1 | US20140146263A1 | US20170293192A1 | US20190196287A1 | US20200133087A1 | US7760302 | US8031299 | US8432522 | US9052559 | US9703161
简单同族成员数量
25
简单同族被引用专利总数
93
诉讼案件数
0
法律状态/事件
授权
抱歉,您的浏览器不支持PDF预览,请点击链接下载PDF文件