专利数据库
统计分析
产业报告
专利数据监控
产业人才
行业动态
产业政策法规
维权援助
个人中心
详情
文本
图像
标题
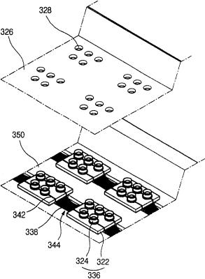
背光组件及使用该背光组件的液晶显示模块
授权日
1900-01-01
公开(公告)号
CN101097345A
申请日
2006-12-15
公开(公告)日
2008-01-02
当前申请(专利权)人
乐金显示有限公司
发明人
金龙 | 金南洙
简单同族
CN100510892C | CN101097345A | JP2008010388A | JP4456102B2 | KR101239823B1 | KR1020080000144A | TW200801695A | TWI351553B | US20070297163A1 | US7481553
简单同族成员数量
10
简单同族被引用专利总数
110
诉讼案件数
0
法律状态/事件
未缴年费
抱歉,您的浏览器不支持PDF预览,请点击链接下载PDF文件