专利数据库
统计分析
产业报告
专利数据监控
产业人才
行业动态
产业政策法规
维权援助
个人中心
详情
文本
图像
标题
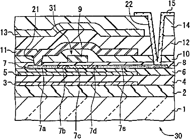
TFT矩阵基底以及有源矩阵寻址液晶显示器件
授权日
2008-08-06
公开(公告)号
CN100409087C
申请日
2002-08-05
公开(公告)日
2008-08-06
当前申请(专利权)人
金振有限公司
发明人
世良贤二 | 奥村藤男
简单同族
CN100409087C | CN1402538A | EP1282001A2 | EP1282001A3 | US20030025848A1 | US7027109
简单同族成员数量
6
简单同族被引用专利总数
55
诉讼案件数
0
法律状态/事件
授权 | 权利转移
抱歉,您的浏览器不支持PDF预览,请点击链接下载PDF文件