专利数据库
统计分析
产业报告
专利数据监控
产业人才
行业动态
产业政策法规
维权援助
个人中心
详情
文本
图像
标题
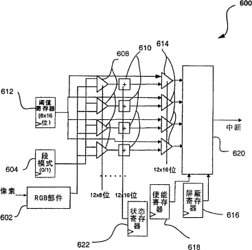
通过亮度控制对液晶显示器面板功率管理的实时动态设计
授权日
2009-04-29
公开(公告)号
CN100483500C
申请日
2004-02-16
公开(公告)日
2009-04-29
当前申请(专利权)人
英特尔公司
发明人
颖·崔 | 理查德·W·詹森 | 戴维·怀亚特 | 韦尼·M·库赫伊布奥特拉 | 沙蒂阿穆尔提·沙德哈西瓦 | 托德·M·威特
简单同族
CN100483500C | CN1521723A | EP1593111A2 | JP2006517303A | JP2006517303A5 | JP4732171B2 | KR100866424B1 | KR1020050097546A | TW200416648A | TWI270838B | US20040160435A1 | US7348957 | WO2004075155A2 | WO2004075155A3
简单同族成员数量
14
简单同族被引用专利总数
160
诉讼案件数
0
法律状态/事件
授权
抱歉,您的浏览器不支持PDF预览,请点击链接下载PDF文件