专利数据库
统计分析
产业报告
专利数据监控
产业人才
行业动态
产业政策法规
维权援助
个人中心
详情
文本
图像
标题
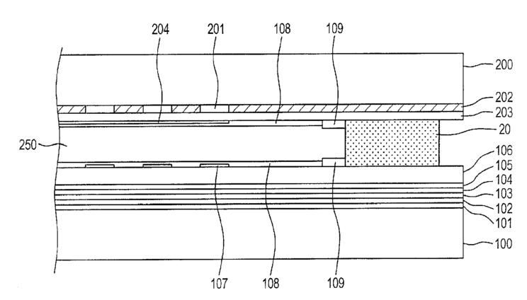
Liquid crystal display device and manufacturing method thereof
授权日
2018-03-27
公开(公告)号
US9927657
申请日
2017-01-11
公开(公告)日
2018-03-27
当前申请(专利权)人
JAPAN DISPLAY INC. | PANASONIC LIQUID CRYSTAL DISPLAY CO., LTD.
发明人
SHIROMOTO, TOMOYUKI | IWATA, TOSHIROU | YANG, RAI | SOTO, SHINICHI
简单同族
CN102129140A | CN102129140B | JP2011145535A | JP5520614B2 | KR101228782B1 | KR1020110084107A | TW201137435A | TWI431358B | US10303003 | US20110176097A1 | US20130330858A1 | US20160116771A1 | US20170123242A1 | US20180164617A1 | US8514356 | US9257458 | US9575365 | US9927657
简单同族成员数量
18
简单同族被引用专利总数
70
诉讼案件数
0
法律状态/事件
授权
抱歉,您的浏览器不支持PDF预览,请点击链接下载PDF文件