专利数据库
统计分析
产业报告
专利数据监控
产业人才
行业动态
产业政策法规
维权援助
个人中心
详情
文本
图像
标题
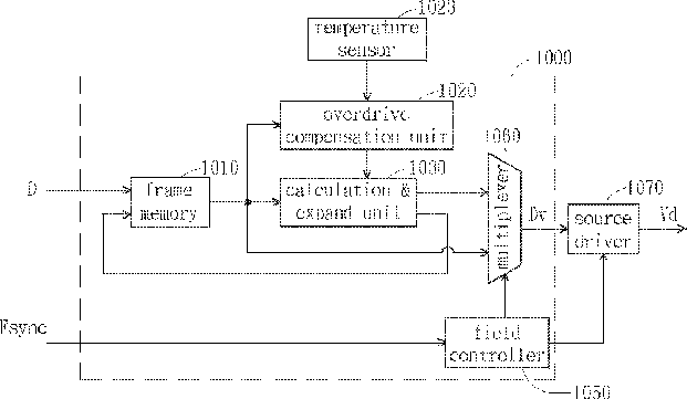
Liquid crystal display driving apparatus and method thereof
授权日
2014-10-21
公开(公告)号
US8866712
申请日
2013-05-17
公开(公告)日
2014-10-21
当前申请(专利权)人
AU OPTRONICS CORP
发明人
TSAI, CHUNG-KUANG | LYU, LI-RU
简单同族
JP2004361943A | JP4204512B2 | TW200426772A | TWI259992B | US20040246224A1 | US20070013630A1 | US20080211753A1 | US20090189886A1 | US20110199347A1 | US20130249892A1 | US7532186 | US7742030 | US8866712 | US8884859
简单同族成员数量
14
简单同族被引用专利总数
81
诉讼案件数
0
法律状态/事件
授权 | 权利转移
抱歉,您的浏览器不支持PDF预览,请点击链接下载PDF文件