专利数据库
统计分析
产业报告
专利数据监控
产业人才
行业动态
产业政策法规
维权援助
个人中心
详情
文本
图像
标题
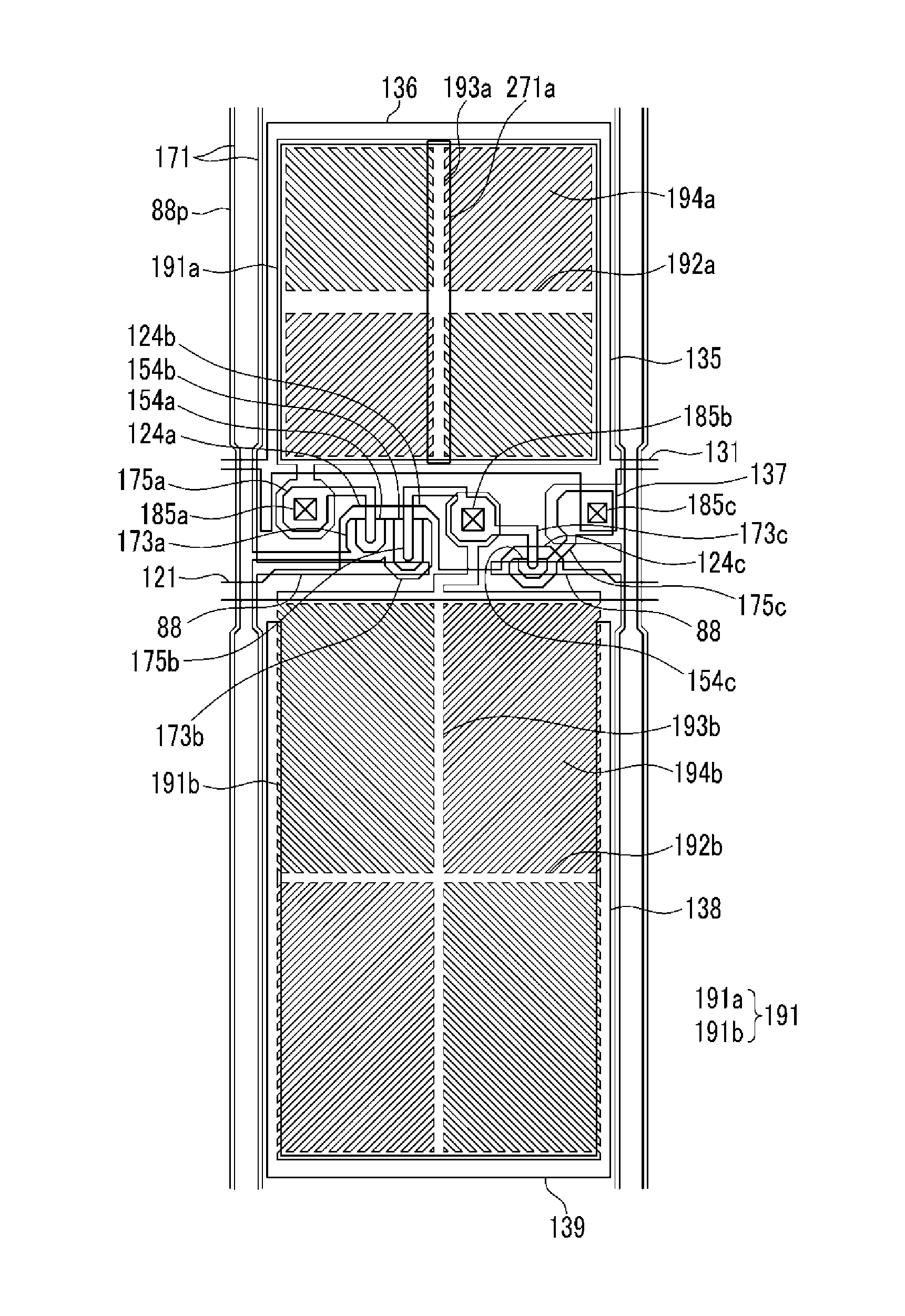
Liquid crystal display
授权日
1900-01-01
公开(公告)号
US20160246133A1
申请日
2016-05-02
公开(公告)日
2016-08-25
当前申请(专利权)人
SAMSUNG DISPLAY CO., LTD.
发明人
CHANG, HAK SUN | RYU, JANG WI | SHIN, KI CHUL | JANG, JAE-SOO
简单同族
KR101931699B1 | KR1020140021105A | US10520777 | US20140043571A1 | US20160054628A1 | US20160246133A1 | US20170248826A1 | US20200089063A1 | US9213209 | US9329442 | US9651834
简单同族成员数量
11
简单同族被引用专利总数
51
诉讼案件数
0
法律状态/事件
授权
抱歉,您的浏览器不支持PDF预览,请点击链接下载PDF文件