专利数据库
统计分析
产业报告
专利数据监控
产业人才
行业动态
产业政策法规
维权援助
个人中心
详情
文本
图像
标题
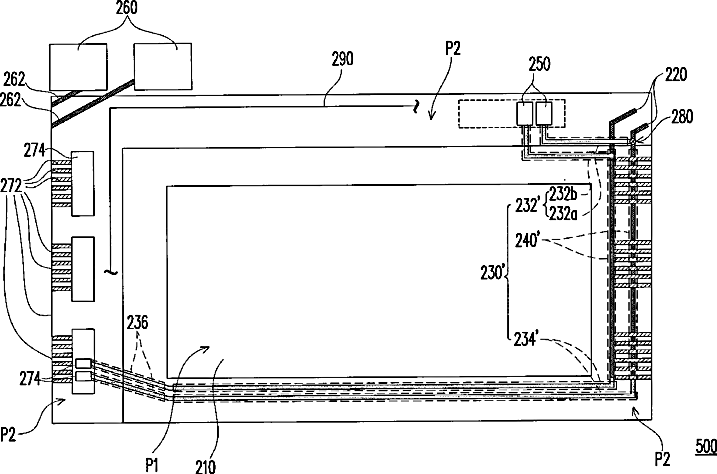
Display panel with test shorting bar
授权日
2014-06-17
公开(公告)号
US8755000
申请日
2012-05-14
公开(公告)日
2014-06-17
当前申请(专利权)人
AU OPTRONICS CORPORATION
发明人
LIN, JIAN-HONG
简单同族
TW201005404A | TWI370310B | US20100014030A1 | US20120268434A1 | US8208084 | US8755000
简单同族成员数量
6
简单同族被引用专利总数
102
诉讼案件数
0
法律状态/事件
授权
抱歉,您的浏览器不支持PDF预览,请点击链接下载PDF文件