专利数据库
统计分析
产业报告
专利数据监控
产业人才
行业动态
产业政策法规
维权援助
个人中心
详情
文本
图像
标题
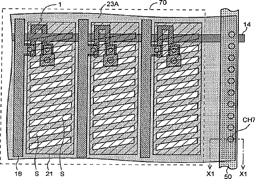
Liquid crystal display device
授权日
1900-01-01
公开(公告)号
US20120313845A1
申请日
2012-06-11
公开(公告)日
2012-12-13
当前申请(专利权)人
JAPAN DISPLAY INC.
发明人
ONOGI, TOMOHIDE | SEGAWA, YASUO
简单同族
CN100510913C | CN101114086A | JP2008032899A | JP2008032899A5 | JP4449953B2 | KR100884126B1 | KR1020080011085A | TW200807122A | TWI369558B | US10126608 | US10126609 | US10606133 | US20080024416A1 | US20120313845A1 | US20160231628A1 | US20160266453A1 | US20170146873A1 | US20190049800A1 | US20190346724A1 | US20190346725A1 | US9291863 | US9946125
简单同族成员数量
22
简单同族被引用专利总数
147
诉讼案件数
0
法律状态/事件
授权 | 权利转移
抱歉,您的浏览器不支持PDF预览,请点击链接下载PDF文件