专利数据库
统计分析
产业报告
专利数据监控
产业人才
行业动态
产业政策法规
维权援助
个人中心
详情
文本
图像
标题
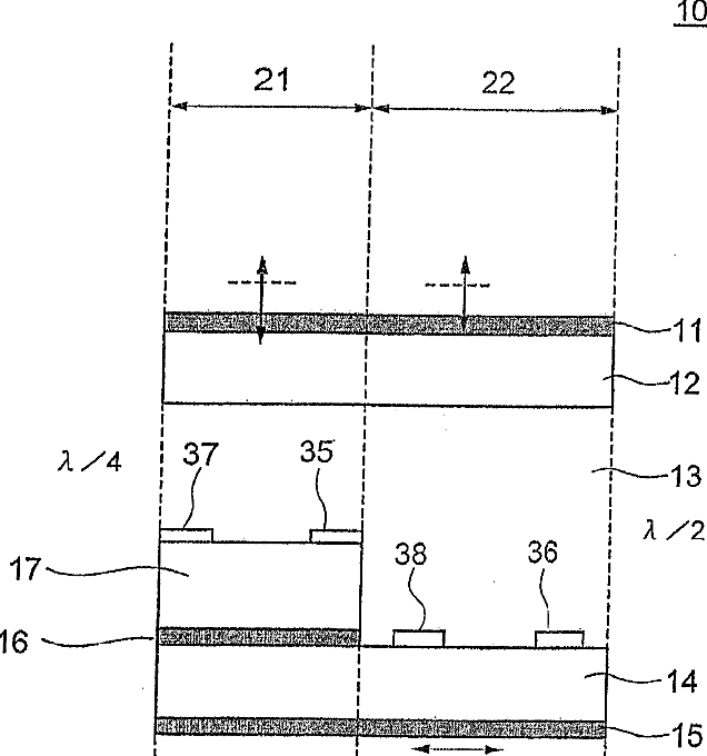
Transflective liquid crystal display device
授权日
1900-01-01
公开(公告)号
US20130208217A1
申请日
2013-03-15
公开(公告)日
2013-08-15
当前申请(专利权)人
NLT TECHNOLOGIES, LTD.
发明人
SAKAMOTO, MICHIAKI | MATSUSHIMA, JIN | NAGAI, HIROSHI | MORI, KENICHI | IKENO, HIDENORI | KUDO, YASUKI | SUMIYOSHI, KEN
简单同族
CN100476539C | CN101329470A | CN101329470B | CN101887195A | CN101887195B | CN102207650A | CN102207650B | CN102213860A | CN102213860B | CN1892349A | JP2007041572A | JP5077734B2 | KR100807609B1 | KR100885828B1 | KR1020070003707A | KR1020070112349A | TW200710484A | TWI358566B | US20070002226A1 | US20100171775A1 | US20130208199A1 | US20130208217A1 | US7705937 | US8436967 | US8773623 | US8913219
简单同族成员数量
26
简单同族被引用专利总数
170
诉讼案件数
0
法律状态/事件
授权
抱歉,您的浏览器不支持PDF预览,请点击链接下载PDF文件