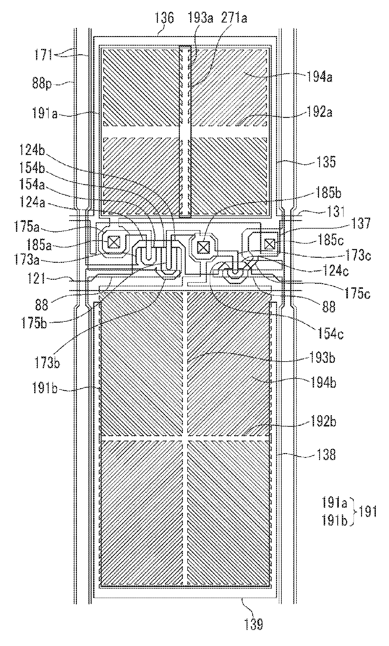
Liquid crystal display comprising a first sub pixel electrode and a second sub pixel electrode each having a transverse stem, a longitudinal stem, and a plurality of minute branches
授权日
2019-12-31
公开(公告)号
US10520777
申请日
2017-05-11
公开(公告)日
2019-12-31
当前申请(专利权)人
SAMSUNG DISPLAY CO., LTD.
发明人
CHANG, HAK SUN | RYU, JANG WI | SHIN, KI CHUL | JANG, JAE-SOO