专利数据库
统计分析
产业报告
专利数据监控
产业人才
行业动态
产业政策法规
维权援助
个人中心
详情
文本
图像
标题
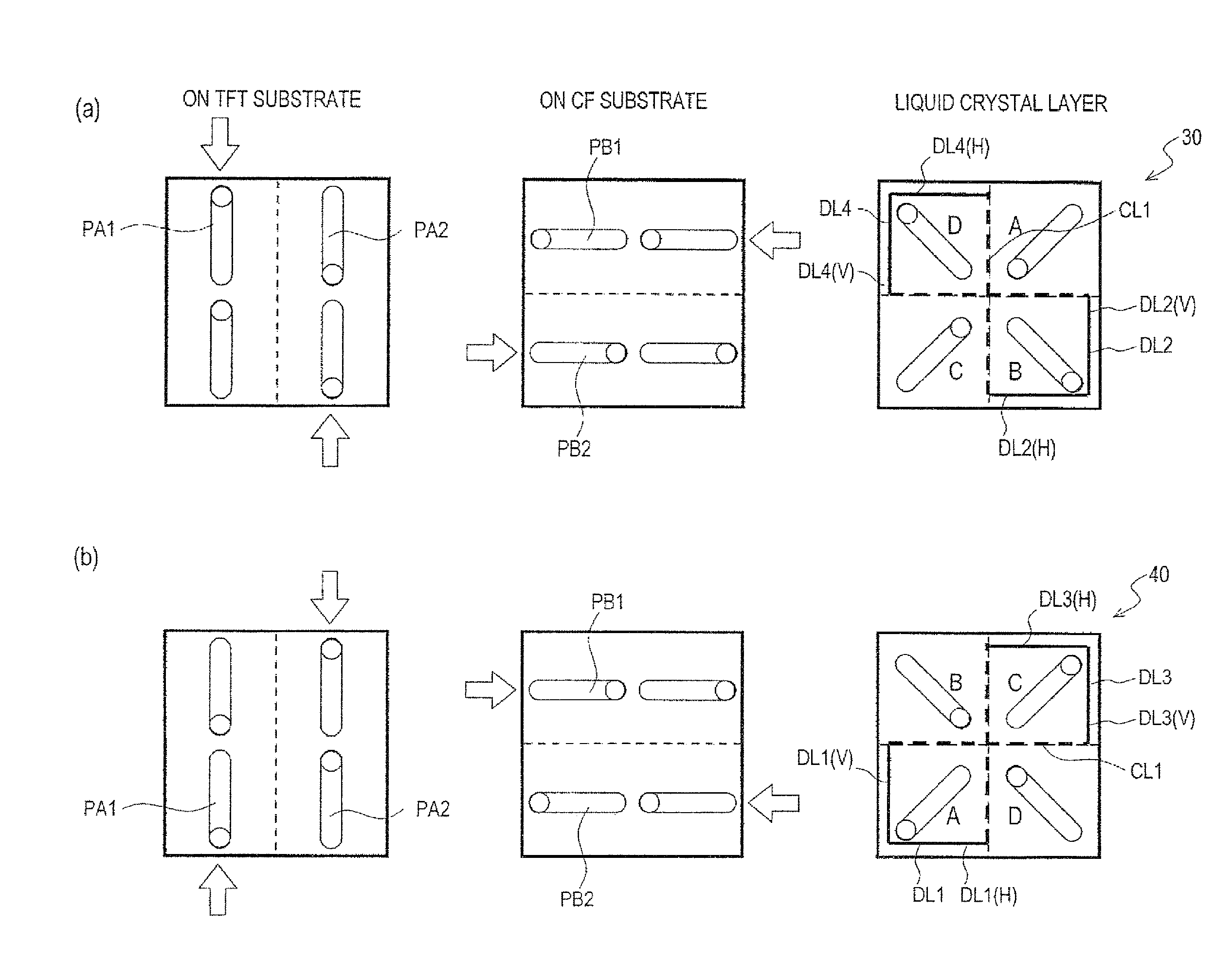
Liquid crystal display device
授权日
2015-04-28
公开(公告)号
US9019455
申请日
2012-12-03
公开(公告)日
2015-04-28
当前申请(专利权)人
SHARP KABUSHIKI KAISHA
发明人
SHORAKU, AKIHIRO | TSUBATA, TOSHIHIDE | MIYACHI, KOICHI | INOUE, IICHIRO | YAMAMOTO, AKIHIRO | HASHIMOTO, YOSHITO | KUBO, MASUMI | JINDA, AKIHITO
简单同族
JP2011053721A | JP4744518B2 | JP5184618B2 | JPWO2006132369A1 | TW200710516A | TWI405013B | US20090284703A1 | US20120002144A1 | US20130114029A1 | US7995177 | US8345197 | US9019455 | WO2006132369A1
简单同族成员数量
13
简单同族被引用专利总数
134
诉讼案件数
0
法律状态/事件
授权
抱歉,您的浏览器不支持PDF预览,请点击链接下载PDF文件