专利数据库
统计分析
产业报告
专利数据监控
产业人才
行业动态
产业政策法规
维权援助
个人中心
详情
文本
图像
标题
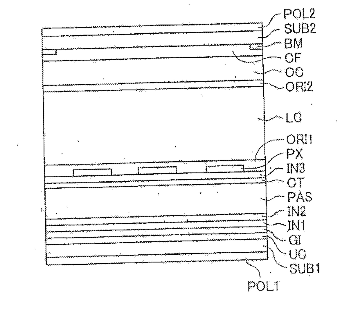
Manufacturing method for liquid crystal display device
授权日
1900-01-01
公开(公告)号
US20190049775A1
申请日
2018-10-16
公开(公告)日
2019-02-14
当前申请(专利权)人
JAPAN DISPLAY INC. | PANASONIC LIQUID CRYSTAL DISPLAY CO., LTD.
发明人
TANABE, HIDEO | TAKABATAKE, MASARU | KANEKO, TOSHIKI | HASEGAWA, ATSUSHI | SEHATA, HIROKO
简单同族
JP2007328210A | JP5170985B2 | US10133103 | US10564459 | US20070298538A1 | US20100227425A1 | US20110227083A1 | US20120299028A1 | US20130308072A1 | US20140132902A1 | US20150212364A1 | US20160147110A1 | US20170343851A1 | US20190049775A1 | US20200150484A1 | US7742113 | US7968357 | US8377765 | US8513701 | US8735901 | US9025103 | US9274364 | US9766489
简单同族成员数量
23
简单同族被引用专利总数
92
诉讼案件数
0
法律状态/事件
授权
抱歉,您的浏览器不支持PDF预览,请点击链接下载PDF文件