专利数据库
统计分析
产业报告
专利数据监控
产业人才
行业动态
产业政策法规
维权援助
个人中心
详情
文本
图像
标题
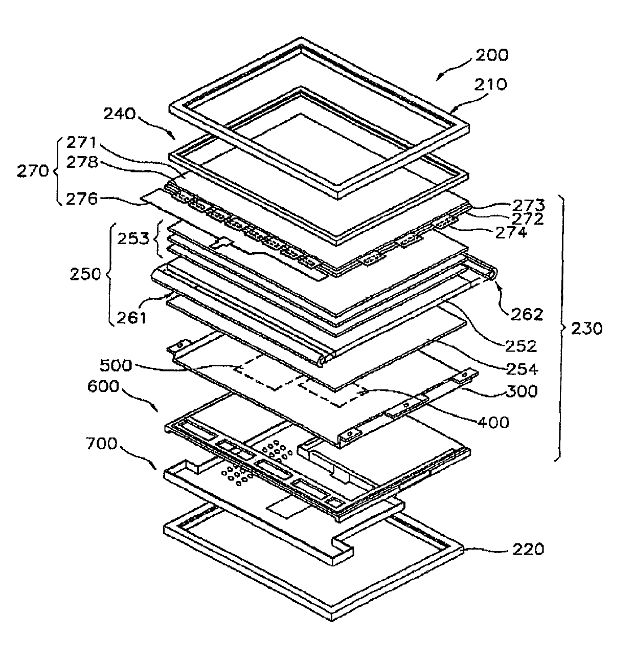
Liquid crystal display device
授权日
2019-04-30
公开(公告)号
USR47371
申请日
2013-11-04
公开(公告)日
2019-04-30
当前申请(专利权)人
SAMSUNG DISPLAY CO., LTD.
发明人
HA, JIN-HO | CHANG, SE-IN
简单同族
CN1262868C | CN1396479A | JP2003029649A | JP4189147B2 | KR100783609B1 | KR1020030005660A | TW535493B | US20030011736A1 | US20050116913A1 | US20060203174A1 | US6894757 | US7098984 | US7248327 | USR44574 | USR47371
简单同族成员数量
15
简单同族被引用专利总数
155
诉讼案件数
0
法律状态/事件
授权
抱歉,您的浏览器不支持PDF预览,请点击链接下载PDF文件