专利数据库
统计分析
产业报告
专利数据监控
产业人才
行业动态
产业政策法规
维权援助
个人中心
详情
文本
图像
标题
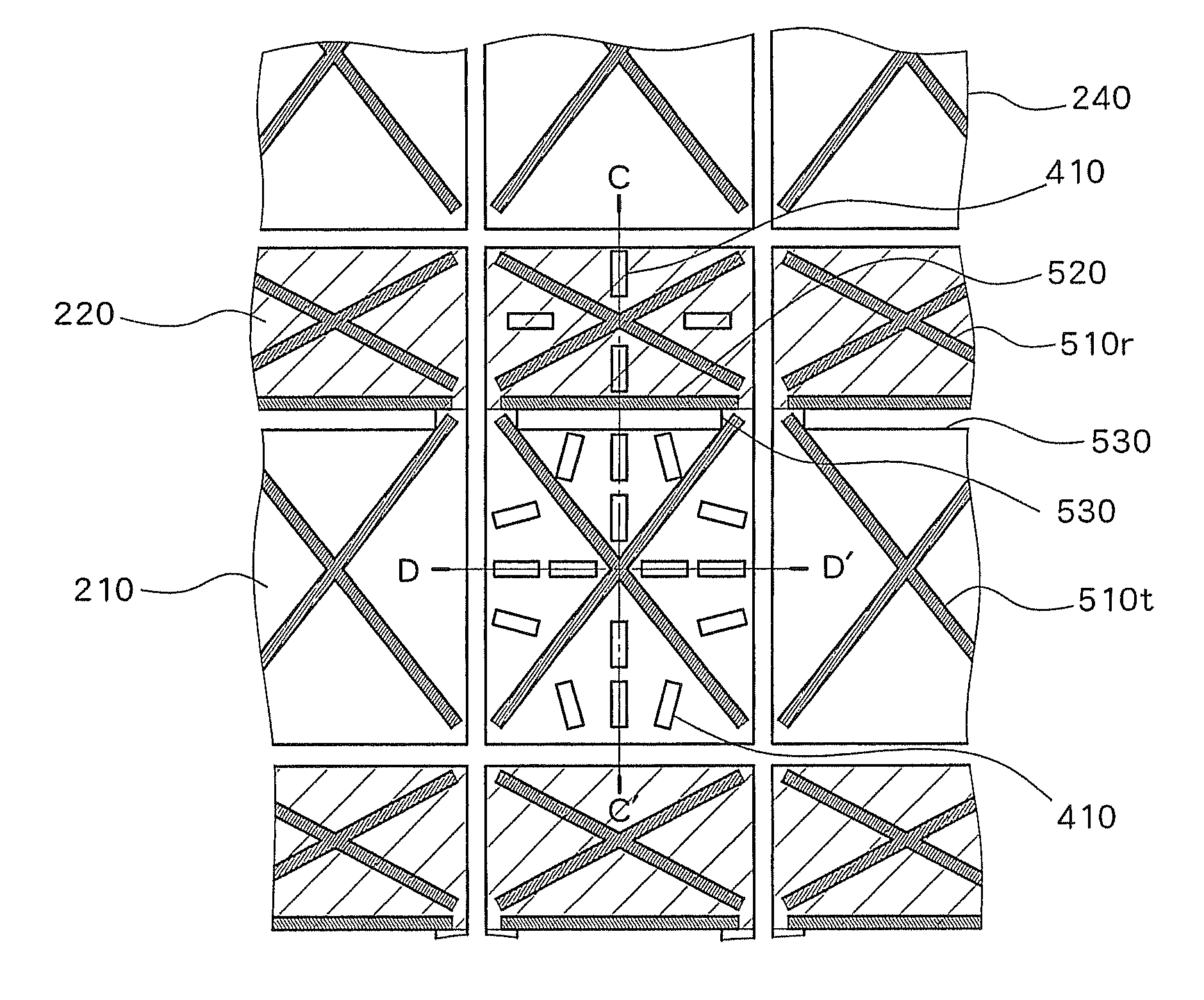
Transflective liquid crystal display device and color liquid crystal display device
授权日
2013-09-17
公开(公告)号
US8537316
申请日
2012-11-28
公开(公告)日
2013-09-17
当前申请(专利权)人
SANYO ELECTRIC CO., LTD.
发明人
KOMA, NORIO | MAEDA, KAZUYUKI | KAMETANI, MASAYUKI | INOUE, KAZUHIRO | AOTA, MASAAKI
简单同族
KR100723555B1 | KR1020060048045A | TW200604654A | TWI332592B | US20050270449A1 | US20090262289A1 | US20110090442A1 | US20120069285A1 | US20130088676A1 | US7573551 | US7876407 | US8089596 | US8345198 | US8537316
简单同族成员数量
14
简单同族被引用专利总数
106
诉讼案件数
0
法律状态/事件
授权
抱歉,您的浏览器不支持PDF预览,请点击链接下载PDF文件