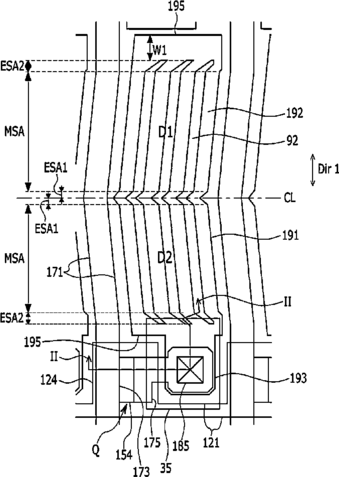
Liquid crystal display comprising first and second electrodes wherein the second electrode comprises a plurality of branch electrodes overlapping the first electrode
授权日
2016-07-05
公开(公告)号
US9383612
申请日
2013-03-15
公开(公告)日
2016-07-05
当前申请(专利权)人
SAMSUNG DISPLAY CO., LTD.
发明人
HUH, SOO JEONG | KIM, DONG WOOK | PARK, SEUNG HYUN