专利数据库
统计分析
产业报告
专利数据监控
产业人才
行业动态
产业政策法规
维权援助
个人中心
详情
文本
图像
标题
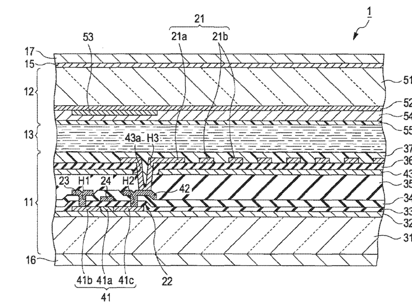
Input-capable display device
授权日
1900-01-01
公开(公告)号
US20180143476A1
申请日
2018-01-04
公开(公告)日
2018-05-24
当前申请(专利权)人
JAPAN DISPLAY INC.
发明人
UTSUNOMIYA, SUMIO | KOSHIHARA, TAKESHI | USHIKI, TAKEYOSHI | FUJIKAWA, YOICHI
简单同族
CN101236320A | CN101236320B | EP1953626A2 | EP1953626A3 | JP2008185785A | JP5051690B2 | KR101448307B1 | KR1020080071489A | TW200841071A | TWI476474B | US20080180407A1 | US20150277174A1 | US20160291371A1 | US20180143476A1 | US9069401 | US9891458
简单同族成员数量
16
简单同族被引用专利总数
140
诉讼案件数
0
法律状态/事件
撤回 | 权利转移
抱歉,您的浏览器不支持PDF预览,请点击链接下载PDF文件