专利数据库
统计分析
产业报告
专利数据监控
产业人才
行业动态
产业政策法规
维权援助
个人中心
详情
文本
图像
标题
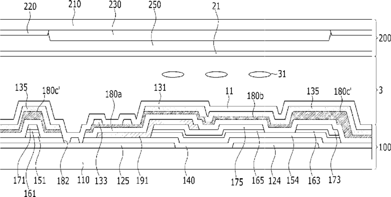
Liquid crystal display and manufacturing method thereof
授权日
2017-03-07
公开(公告)号
US9588385
申请日
2013-12-20
公开(公告)日
2017-03-07
当前申请(专利权)人
SAMSUNG DISPLAY CO., LTD.
发明人
KIM, SUNG-HOON | UM, YOON-SUNG | YEOM, JOO-SEOK
简单同族
CN102540596A | CN102540596B | JP2012141579A | JP2016006539A | JP2017090937A | JP6022151B2 | JP6100851B2 | JP6404379B2 | TW201232131A | TWI559061B | US20120169985A1 | US20140104531A1 | US8659734 | US9588385
简单同族成员数量
14
简单同族被引用专利总数
50
诉讼案件数
0
法律状态/事件
授权
抱歉,您的浏览器不支持PDF预览,请点击链接下载PDF文件