专利数据库
统计分析
产业报告
专利数据监控
产业人才
行业动态
产业政策法规
维权援助
个人中心
详情
文本
图像
标题
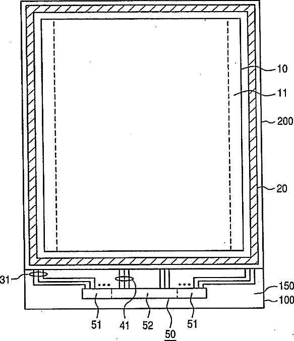
Liquid crystal display device
授权日
1900-01-01
公开(公告)号
US20140111755A1
申请日
2013-12-31
公开(公告)日
2014-04-24
当前申请(专利权)人
JAPAN DISPLAY INC. | PANASONIC LIQUID CRYSTAL DISPLAY CO., LTD.
发明人
ANJO, KENJI | NAGAMI, TAKAHIRO | HATAKEYAMA, KENICHI
简单同族
JP2009265484A | JP5394655B2 | US20090268145A1 | US20120300152A1 | US20140111755A1 | US20150009445A1 | US20150227010A1 | US20160284735A1 | US20170123283A1 | US20180046043A1 | US8248568 | US8634049 | US8867011 | US9041893 | US9389471 | US9576985 | US9804456 | US9964817
简单同族成员数量
18
简单同族被引用专利总数
104
诉讼案件数
0
法律状态/事件
授权
抱歉,您的浏览器不支持PDF预览,请点击链接下载PDF文件