专利数据库
统计分析
产业报告
专利数据监控
产业人才
行业动态
产业政策法规
维权援助
个人中心
详情
文本
图像
标题
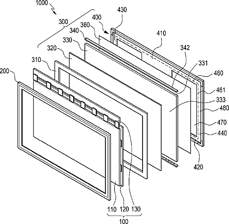
Backlight assembly, and liquid crystal display module and liquid crystal display device having the same
授权日
1900-01-01
公开(公告)号
US20110292315A1
申请日
2011-05-10
公开(公告)日
2011-12-01
当前申请(专利权)人
SAMSUNG DISPLAY CO., LTD.
发明人
BAE, HYUN-CHUL | LEE, JAE-SANG | CHOI, SEONG-SIK | KWAK, HEE-JUNE | LEE, SANG-HYEOK
简单同族
CN102287680A | CN102287680B | EP2390692A1 | EP2390692B1 | KR101764191B1 | KR1020110130823A | US20110292315A1 | US20150261035A1 | US9046635 | US9726920
简单同族成员数量
10
简单同族被引用专利总数
99
诉讼案件数
0
法律状态/事件
授权 | 权利转移
抱歉,您的浏览器不支持PDF预览,请点击链接下载PDF文件