专利数据库
统计分析
产业报告
专利数据监控
产业人才
行业动态
产业政策法规
维权援助
个人中心
详情
文本
图像
标题
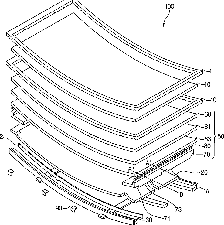
Curved liquid crystal display device
授权日
1900-01-01
公开(公告)号
US20140168564A1
申请日
2013-09-05
公开(公告)日
2014-06-19
当前申请(专利权)人
LG DISPLAY CO., LTD.
发明人
LEE, SE-MIN | JANG, HYUN-WOO | SON, JI-EUN | YEON, JOOYOUNG | SONG, JAE-YEON | YOON, YONG-JOONG | LEE, HYO-SUNG
简单同族
CN103809307A | CN103809307B | CN103809315A | CN103809315B | EP2730966A1 | EP2730967A1 | EP2730967B1 | TW201418828A | TW201418832A | TWI512359B | TWI514036B | US20140125913A1 | US20140168564A1 | US9261720 | US9323084
简单同族成员数量
15
简单同族被引用专利总数
94
诉讼案件数
0
法律状态/事件
授权 | 权利转移
抱歉,您的浏览器不支持PDF预览,请点击链接下载PDF文件