专利数据库
统计分析
产业报告
专利数据监控
产业人才
行业动态
产业政策法规
维权援助
个人中心
详情
文本
图像
标题
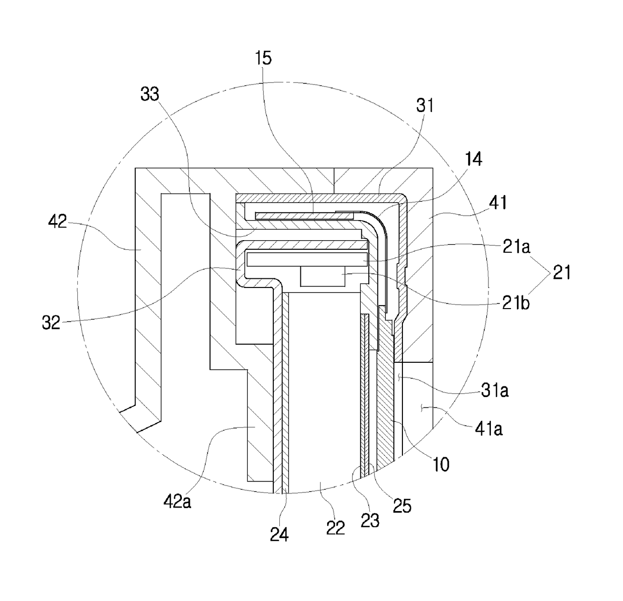
Liquid crystal panel assembly and liquid crystal display apparatus having the same
授权日
2019-01-08
公开(公告)号
USR47196
申请日
2015-10-06
公开(公告)日
2019-01-08
当前申请(专利权)人
SAMSUNG ELECTRONICS CO., LTD.
发明人
CHO, JIN-HYUN | KANG, JOON
简单同族
CN101038389A | CN101038389B | EP1835330A1 | EP1835330B1 | EP2778774A2 | EP2778774A3 | EP3214487A1 | KR100978045B1 | KR1020070093216A | US20070211191A1 | US20110069252A1 | US7864258 | US8115887 | USR47196
简单同族成员数量
14
简单同族被引用专利总数
96
诉讼案件数
0
法律状态/事件
授权
抱歉,您的浏览器不支持PDF预览,请点击链接下载PDF文件