专利数据库
统计分析
产业报告
专利数据监控
产业人才
行业动态
产业政策法规
维权援助
个人中心
详情
文本
图像
标题
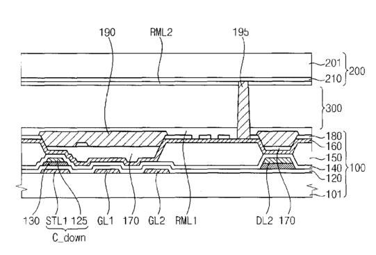
Display substrate, method of manufacturing the same and method of manufacturing display panel
授权日
2017-11-21
公开(公告)号
US9823524
申请日
2016-03-25
公开(公告)日
2017-11-21
当前申请(专利权)人
SAMSUNG DISPLAY CO., LTD.
发明人
LEE, JUN-HYUP | LYU, JAE-JIN
简单同族
KR101604650B1 | KR1020110045480A | US20110096259A1 | US20130128197A1 | US20160209717A1 | US8377614 | US9329421 | US9823524
简单同族成员数量
8
简单同族被引用专利总数
53
诉讼案件数
0
法律状态/事件
授权
抱歉,您的浏览器不支持PDF预览,请点击链接下载PDF文件