专利数据库
统计分析
产业报告
专利数据监控
产业人才
行业动态
产业政策法规
维权援助
个人中心
详情
文本
图像
标题
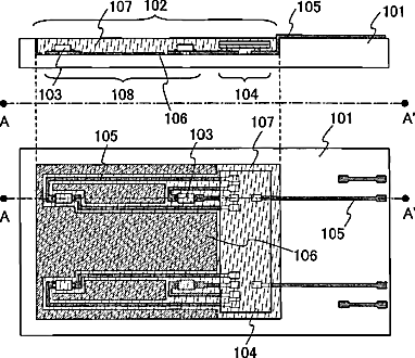
Liquid crystal display device and manufacturing method of liquid crystal display device
授权日
2014-01-21
公开(公告)号
US8634041
申请日
2012-05-08
公开(公告)日
2014-01-21
当前申请(专利权)人
SEMICONDUCTOR ENERGY LABORATORY CO., LTD.
发明人
YAMAZAKI, SHUNPEI | TAKAYAMA, TORU | MARUYAMA, JUNYA | GOTO, YUUGO | OHNO, YUMIKO | ENDO, AKIO | ARAI, YASUYUKI
简单同族
CN102354067A | CN102354067B | CN1517753A | EP1439410A2 | EP1439410A3 | KR101019136B1 | KR101072411B1 | KR1020040066015A | KR1020100113468A | TW200415422A | TW200714978A | TWI351548B | TWI351566B | US20040169786A1 | US20110201141A1 | US20120220062A1 | US8040456 | US8218105 | US8634041
简单同族成员数量
19
简单同族被引用专利总数
121
诉讼案件数
0
法律状态/事件
授权
抱歉,您的浏览器不支持PDF预览,请点击链接下载PDF文件