专利数据库
统计分析
产业报告
专利数据监控
产业人才
行业动态
产业政策法规
维权援助
个人中心
详情
文本
图像
标题
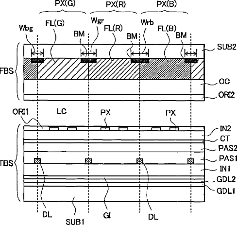
Liquid crystal display device
授权日
2013-03-12
公开(公告)号
US8395730
申请日
2012-09-06
公开(公告)日
2013-03-12
当前申请(专利权)人
HITACHI DISPLAYS, LTD. | PANASONIC LIQUID CRYSTAL DISPLAY CO., LTD.
发明人
OCHIAI, TAKAHIRO | SASAKI, TOHRU | ITO, OSAMU
简单同族
JP2010014760A | JP2010014760A5 | JP5301895B2 | US20100001939A1 | US20120327340A1 | US20130194531A1 | US20140267963A1 | US20170017111A1 | US8269925 | US8395730 | US8749739 | US9482894 | US9983429
简单同族成员数量
13
简单同族被引用专利总数
78
诉讼案件数
0
法律状态/事件
授权
抱歉,您的浏览器不支持PDF预览,请点击链接下载PDF文件