专利数据库
统计分析
产业报告
专利数据监控
产业人才
行业动态
产业政策法规
维权援助
个人中心
详情
文本
图像
标题
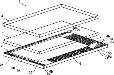
液晶显示面板及其检查方法
授权日
1900-01-01
公开(公告)号
CN101652705A
申请日
2007-12-13
公开(公告)日
2010-02-17
当前申请(专利权)人
夏普株式会社
发明人
木田和寿
简单同族
CN101652705A | CN101652705B | US20100134137A1 | WO2008136153A1
简单同族成员数量
4
简单同族被引用专利总数
53
诉讼案件数
0
法律状态/事件
授权
抱歉,您的浏览器不支持PDF预览,请点击链接下载PDF文件