专利数据库
统计分析
产业报告
专利数据监控
产业人才
行业动态
产业政策法规
维权援助
个人中心
详情
文本
图像
标题
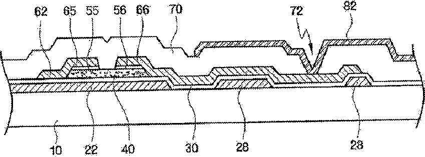
Liquid crystal display device and method of repairing bad pixels therein
授权日
1900-01-01
公开(公告)号
US20150153601A1
申请日
2015-01-27
公开(公告)日
2015-06-04
当前申请(专利权)人
SAMSUNG DISPLAY CO., LTD.
发明人
CHANG, JONG-WOONG | KANG, SHIN-TACK
简单同族
CN101174067A | CN101174067B | CN102176101A | CN102176101B | JP2008116912A | JP2013020261A | JP2013080260A | JP2013080260A5 | JP5190625B2 | JP5571750B2 | JP5796023B2 | KR101306239B1 | KR1020080040440A | US20080117349A1 | US20090290086A1 | US20110317107A1 | US20130215350A1 | US20150153601A1 | US20150316826A1 | US7580108 | US8045075 | US8400609 | US8976331 | US9164344 | US9268187
简单同族成员数量
25
简单同族被引用专利总数
53
诉讼案件数
0
法律状态/事件
授权
抱歉,您的浏览器不支持PDF预览,请点击链接下载PDF文件