专利数据库
统计分析
产业报告
专利数据监控
产业人才
行业动态
产业政策法规
维权援助
个人中心
详情
文本
图像
标题
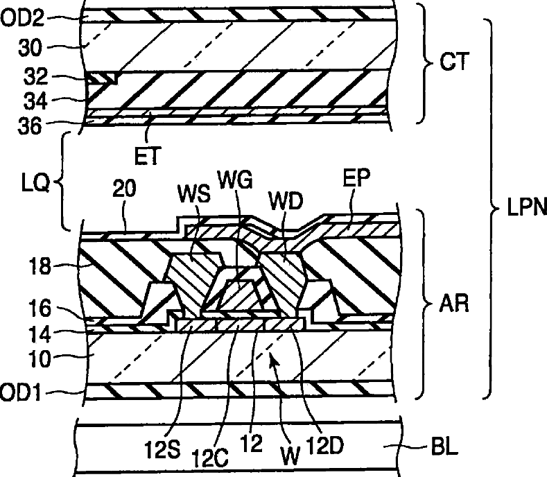
Liquid crystal display device
授权日
1900-01-01
公开(公告)号
US20130286339A1
申请日
2013-06-27
公开(公告)日
2013-10-31
当前申请(专利权)人
JAPAN DISPLAY INC.
发明人
HIROSAWA, JIN
简单同族
JP2009192822A | JP4693131B2 | US20090207363A1 | US20120069280A1 | US20130286339A1 | US8421977 | US8497969 | US8867007
简单同族成员数量
8
简单同族被引用专利总数
186
诉讼案件数
0
法律状态/事件
授权 | 权利转移
抱歉,您的浏览器不支持PDF预览,请点击链接下载PDF文件