专利数据库
统计分析
产业报告
专利数据监控
产业人才
行业动态
产业政策法规
维权援助
个人中心
详情
文本
图像
标题
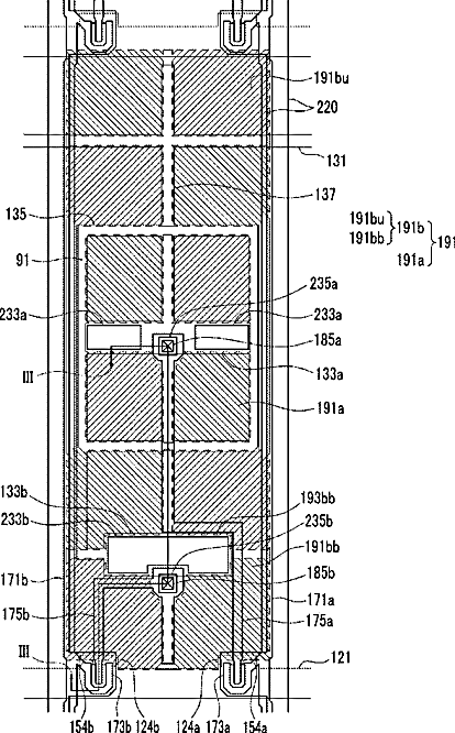
Liquid crystal display
授权日
1900-01-01
公开(公告)号
US20140063395A1
申请日
2013-11-12
公开(公告)日
2014-03-06
当前申请(专利权)人
SAMSUNG DISPLAY CO., LTD.
发明人
JUNG, MEE-HYE | SOHN, JI-WON | LYU, JAE-JIN | CHAI, CHONG-CHUL
简单同族
CN101546073A | CN101546073B | CN102692775A | CN102692775B | EP2105786A1 | EP2105786B1 | KR1020090103461A | US20090244425A1 | US20110317119A1 | US20120314174A1 | US20130265517A1 | US20140063395A1 | US20150062516A1 | US20160246137A1 | US20180004049A1 | US8035787 | US8253908 | US8462305 | US8610866 | US8909020 | US9360717 | US9759962
简单同族成员数量
22
简单同族被引用专利总数
127
诉讼案件数
0
法律状态/事件
授权
抱歉,您的浏览器不支持PDF预览,请点击链接下载PDF文件