专利数据库
统计分析
产业报告
专利数据监控
产业人才
行业动态
产业政策法规
维权援助
个人中心
详情
文本
图像
标题
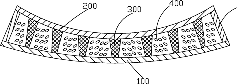
Structure of curved liquid crystal panel
授权日
1900-01-01
公开(公告)号
US20160231607A1
申请日
2014-06-12
公开(公告)日
2016-08-11
当前申请(专利权)人
SHENZHEN CHINA STAR OPTOELECTRONICS TECHNOLOGY CO., LTD.
发明人
WU, CHUAN | GUO, JINBO | LO, SHIHHSUN
简单同族
CN103955096A | CN103955096B | US20160231607A1 | WO2015176337A1
简单同族成员数量
4
简单同族被引用专利总数
62
诉讼案件数
0
法律状态/事件
撤回 | 权利转移
抱歉,您的浏览器不支持PDF预览,请点击链接下载PDF文件