专利数据库
统计分析
产业报告
专利数据监控
产业人才
行业动态
产业政策法规
维权援助
个人中心
详情
文本
图像
标题
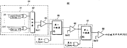
液晶显示器和用于降低闪烁的方法
授权日
2006-05-31
公开(公告)号
CN1258116C
申请日
2001-12-24
公开(公告)日
2006-05-31
当前申请(专利权)人
三星显示有限公司
发明人
朴倖源 | 田万福 | 罗根植
简单同族
CN1258116C | CN1361447A | JP2002215120A | JP2011053693A | KR100381963B1 | KR1020020052608A | TW511048B | US20020080127A1 | US6906691
简单同族成员数量
9
简单同族被引用专利总数
90
诉讼案件数
0
法律状态/事件
授权 | 权利转移
抱歉,您的浏览器不支持PDF预览,请点击链接下载PDF文件