专利数据库
统计分析
产业报告
专利数据监控
产业人才
行业动态
产业政策法规
维权援助
个人中心
详情
文本
图像
标题
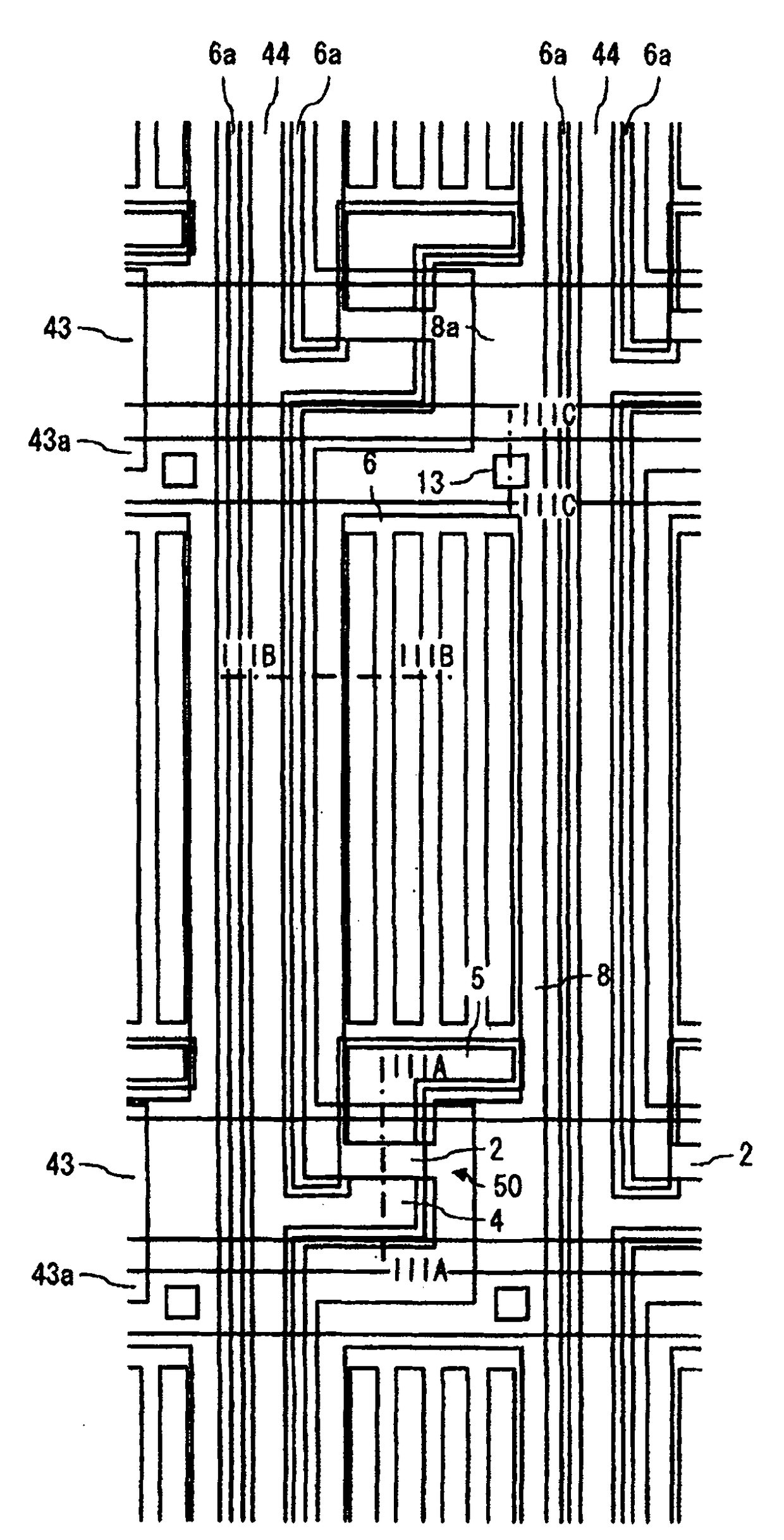
薄膜晶体管阵列基板、其制造方法、及液晶显示装置
授权日
2012-03-21
公开(公告)号
CN101788738B
申请日
2010-01-22
公开(公告)日
2012-03-21
当前申请(专利权)人
三菱电机株式会社
发明人
永野慎吾 | 升谷雄一
简单同族
CN101788738A | CN101788738B | CN102540605A | CN102540605B | JP2010191410A | JP5646162B2 | KR101108943B1 | KR1020100086945A | US20100187532A1 | US8451395
简单同族成员数量
10
简单同族被引用专利总数
62
诉讼案件数
0
法律状态/事件
授权
抱歉,您的浏览器不支持PDF预览,请点击链接下载PDF文件