专利数据库
统计分析
产业报告
专利数据监控
产业人才
行业动态
产业政策法规
维权援助
个人中心
详情
文本
图像
标题
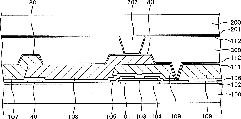
Manufacturing Method of Liquid Crystal Display Device
授权日
1900-01-01
公开(公告)号
US20140354925A1
申请日
2014-08-19
公开(公告)日
2014-12-04
当前申请(专利权)人
JAPAN DISPLAY INC. | PANASONIC LIQUID CRYSTAL DISPLAY CO., LTD.
发明人
GOTOH, JUN
简单同族
JP2010281925A | JP5553531B2 | US20100309416A1 | US20120287383A1 | US20130203313A1 | US20140354925A1 | US8233119 | US8421964 | US8823906 | US9036116
简单同族成员数量
10
简单同族被引用专利总数
76
诉讼案件数
0
法律状态/事件
授权
抱歉,您的浏览器不支持PDF预览,请点击链接下载PDF文件