专利数据库
统计分析
产业报告
专利数据监控
产业人才
行业动态
产业政策法规
维权援助
个人中心
详情
文本
图像
标题
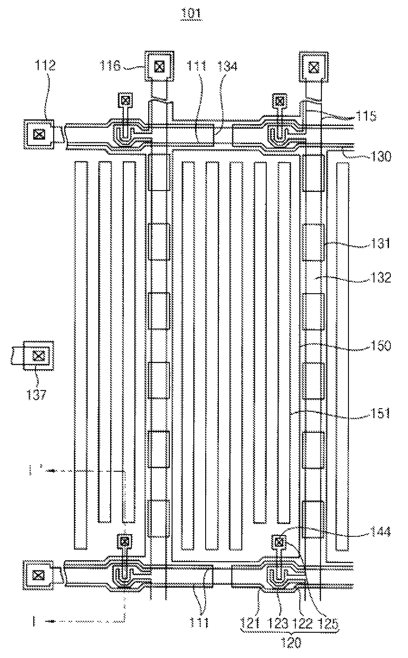
Array substrate and liquid crystal display apparatus having the same
授权日
2014-02-04
公开(公告)号
US8643815
申请日
2012-04-04
公开(公告)日
2014-02-04
当前申请(专利权)人
SAMSUNG DISPLAY CO., LTD.
发明人
HAM, YEON-SIK | JEON, YEON-MUN | HER, YONG-KOO
简单同族
CN101625493A | JP2010020289A | JP5788131B2 | KR1020100005883A | US20100007837A1 | US20120193630A1 | US20140138693A1 | US8159641 | US8643815 | US9281320
简单同族成员数量
10
简单同族被引用专利总数
88
诉讼案件数
0
法律状态/事件
未缴年费 | 权利转移
抱歉,您的浏览器不支持PDF预览,请点击链接下载PDF文件