专利数据库
统计分析
产业报告
专利数据监控
产业人才
行业动态
产业政策法规
维权援助
个人中心
详情
文本
图像
标题
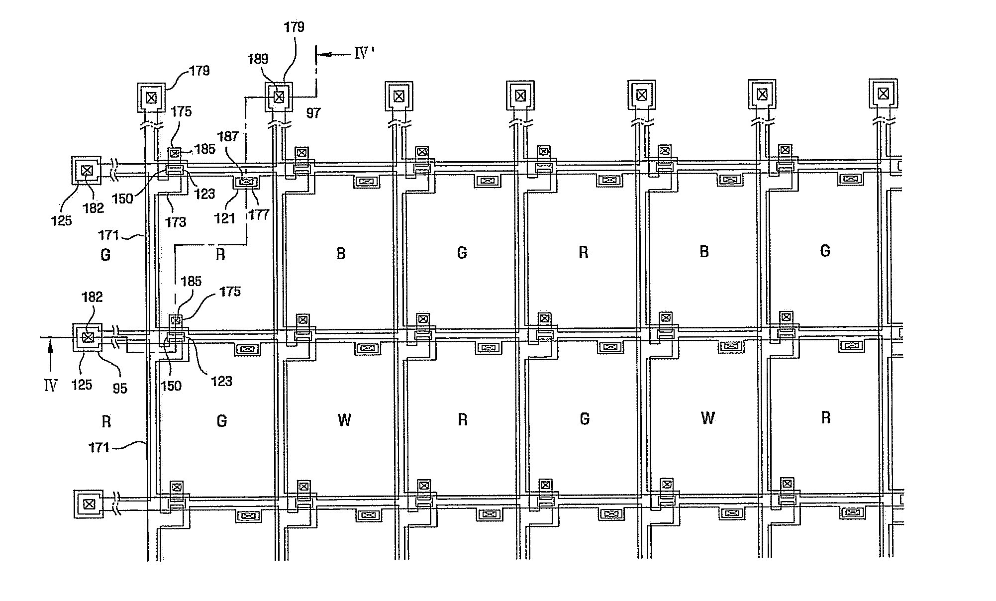
Liquid crystal display device
授权日
1900-01-01
公开(公告)号
US20110134354A1
申请日
2011-01-28
公开(公告)日
2011-06-09
当前申请(专利权)人
SAMSUNG DISPLAY CO., LTD.
发明人
ROH, NAM-SEOK | RHO, SOO-GUY
简单同族
JP2005352451A | JP5062958B2 | KR101041970B1 | KR1020050117772A | US20050275769A1 | US20090103022A1 | US20110134354A1 | US7483096 | US7911567 | US8547507
简单同族成员数量
10
简单同族被引用专利总数
71
诉讼案件数
0
法律状态/事件
授权 | 权利转移
抱歉,您的浏览器不支持PDF预览,请点击链接下载PDF文件