专利数据库
统计分析
产业报告
专利数据监控
产业人才
行业动态
产业政策法规
维权援助
个人中心
详情
文本
图像
标题
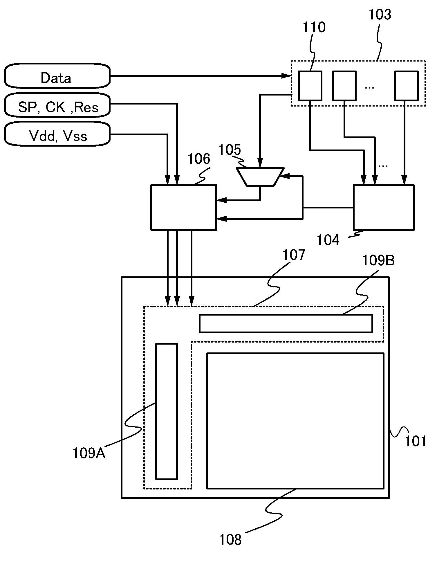
Liquid crystal display device and driving method thereof
授权日
1900-01-01
公开(公告)号
US20140210808A1
申请日
2014-04-03
公开(公告)日
2014-07-31
当前申请(专利权)人
SEMICONDUCTOR ENERGY LABORATORY CO., LTD.
发明人
ARASAWA, RYO | TOYOTAKA, KOUHEI
简单同族
CN102640207A | CN107886916A | JP2011145667A | JP2011145667A5 | JP2012212178A | JP2013050738A | JP2015099394A | JP2016118789A | JP2017122921A | JP2019008321A | JP5393867B2 | JP5805944B2 | JP6100880B2 | KR101763660B1 | KR101900662B1 | KR1020120094957A | KR1020170087963A | TW201133460A | TW201624460A | TWI536346B | TWI654595B | US20110148846A1 | US20140210808A1 | US8698717 | US9105256 | WO2011074379A1
简单同族成员数量
26
简单同族被引用专利总数
105
诉讼案件数
0
法律状态/事件
授权
抱歉,您的浏览器不支持PDF预览,请点击链接下载PDF文件