专利数据库
统计分析
产业报告
专利数据监控
产业人才
行业动态
产业政策法规
维权援助
个人中心
详情
文本
图像
标题
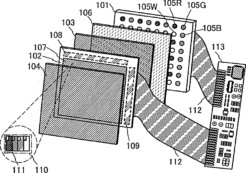
Liquid crystal display device and electronic appliance
授权日
1900-01-01
公开(公告)号
US20110267381A1
申请日
2011-04-26
公开(公告)日
2011-11-03
当前申请(专利权)人
SEMICONDUCTOR ENERGY LABORATORY CO., LTD.
发明人
YAMAZAKI, SHUNPEI | KOYAMA, JUN
简单同族
JP2011248352A | JP2015132850A | JP2016136276A | JP5730117B2 | JP5913679B2 | JP6138310B2 | TW201142804A | TW201701266A | TWI559285B | TWI616864B | US20110267381A1 | US9019320 | WO2011136018A1
简单同族成员数量
13
简单同族被引用专利总数
77
诉讼案件数
0
法律状态/事件
授权 | 权利转移
抱歉,您的浏览器不支持PDF预览,请点击链接下载PDF文件