专利数据库
统计分析
产业报告
专利数据监控
产业人才
行业动态
产业政策法规
维权援助
个人中心
详情
文本
图像
标题
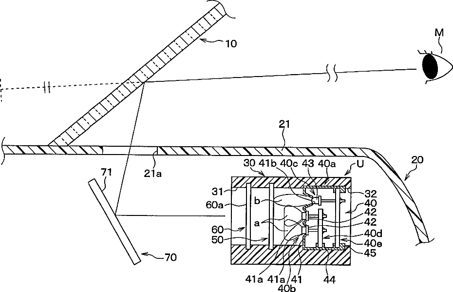
Displaying device for vehicle having light sources of different directivities
授权日
1900-01-01
公开(公告)号
US20020135573A1
申请日
2002-02-01
公开(公告)日
2002-09-26
当前申请(专利权)人
DENSO CORPORATION
发明人
KANAMORI, NAOHITO
简单同族
DE10212600A1 | DE10212600B4 | FR2822578A1 | FR2822578B1 | JP2002287076A | JP4193367B2 | US20020135573A1 | US6795040
简单同族成员数量
8
简单同族被引用专利总数
51
诉讼案件数
0
法律状态/事件
未缴年费 | 权利转移
抱歉,您的浏览器不支持PDF预览,请点击链接下载PDF文件