专利数据库
统计分析
产业报告
专利数据监控
产业人才
行业动态
产业政策法规
维权援助
个人中心
详情
文本
图像
标题
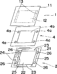
Touch-panel with light shielding peripheral part
授权日
2004-11-09
公开(公告)号
US6814452
申请日
2001-03-28
公开(公告)日
2004-11-09
当前申请(专利权)人
NISSHA PRINTING CO., LTD.
发明人
KUSUDA, YASUJI
简单同族
JP2001282454A | TW493137B | US20030090803A1 | US6814452 | WO2001075576A1
简单同族成员数量
5
简单同族被引用专利总数
91
诉讼案件数
0
法律状态/事件
授权 | 权利转移
抱歉,您的浏览器不支持PDF预览,请点击链接下载PDF文件