专利数据库
统计分析
产业报告
专利数据监控
产业人才
行业动态
产业政策法规
维权援助
个人中心
详情
文本
图像
标题
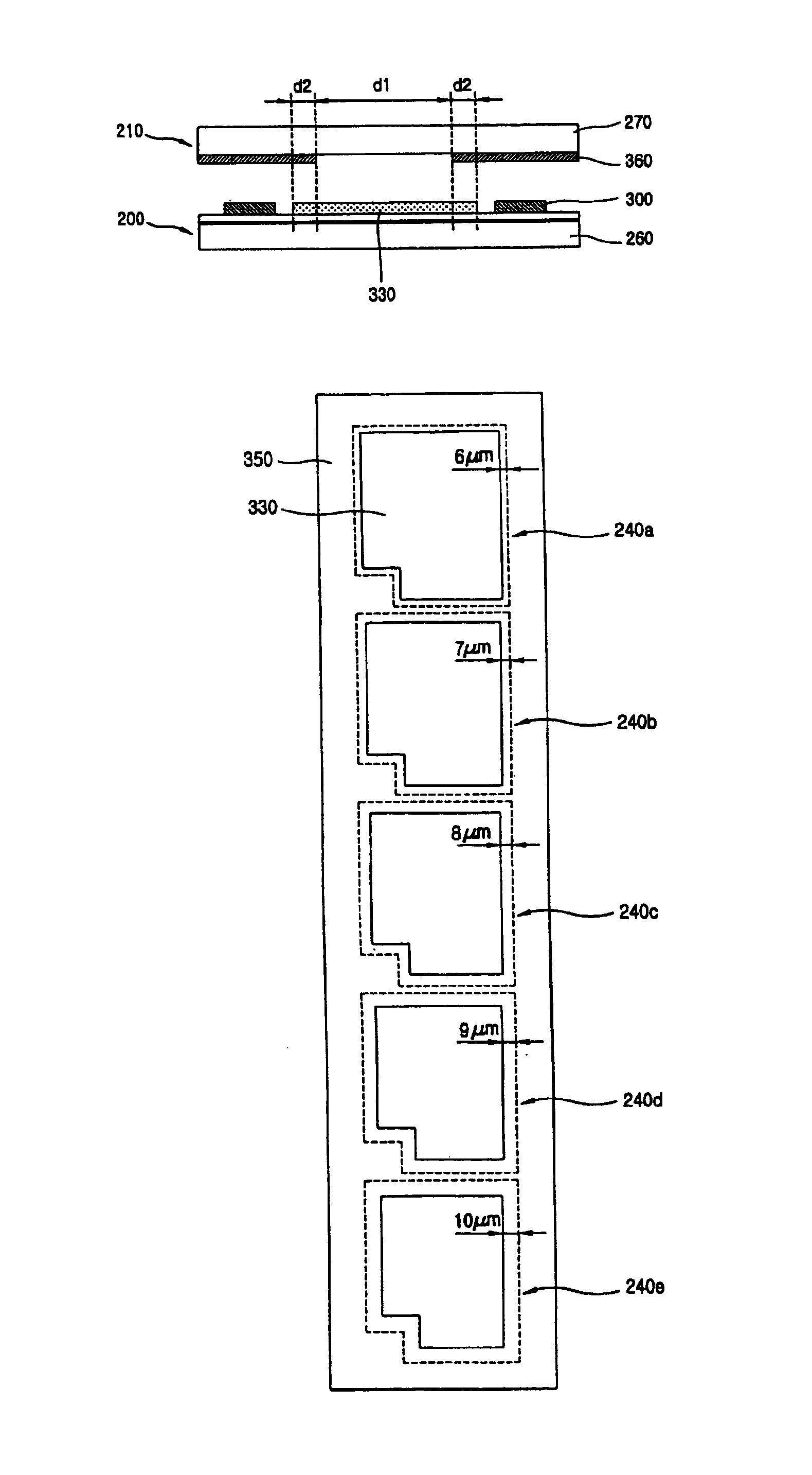
TFT-LCD comprising test pixels, black matrix elements, common voltage line formed within particular dummy region
授权日
2005-06-14
公开(公告)号
US6906766
申请日
2004-08-03
公开(公告)日
2005-06-14
当前申请(专利权)人
LG DISPLAY CO., LTD.
发明人
LIM, JOO SOO
简单同族
KR100662780B1 | KR1020040054425A | US20040119917A1 | US20050007526A1 | US6801275 | US6906766
简单同族成员数量
6
简单同族被引用专利总数
54
诉讼案件数
0
法律状态/事件
授权 | 权利转移
抱歉,您的浏览器不支持PDF预览,请点击链接下载PDF文件