专利数据库
统计分析
产业报告
专利数据监控
产业人才
行业动态
产业政策法规
维权援助
个人中心
详情
文本
图像
标题
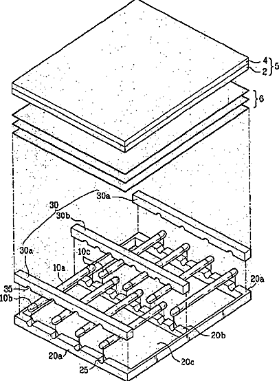
Back light for liquid crystal display
授权日
2005-09-06
公开(公告)号
US6939020
申请日
2002-06-07
公开(公告)日
2005-09-06
当前申请(专利权)人
LG DISPLAY CO., LTD.
发明人
LIM, MOON JONG
简单同族
CN1194251C | CN1402063A | DE10228099A1 | DE10228099B4 | FR2828786A1 | FR2828786B1 | GB0214557D0 | GB2378802A | GB2378802B | JP2003092004A | JP3786902B2 | KR100469343B1 | KR1020030015534A | US20030035283A1 | US6939020
简单同族成员数量
15
简单同族被引用专利总数
84
诉讼案件数
0
法律状态/事件
未缴年费 | 权利转移
抱歉,您的浏览器不支持PDF预览,请点击链接下载PDF文件