专利数据库
统计分析
产业报告
专利数据监控
产业人才
行业动态
产业政策法规
维权援助
个人中心
详情
文本
图像
标题
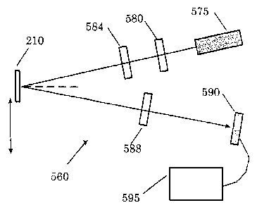
Display with a wire grid polarizing beamsplitter
授权日
2007-05-22
公开(公告)号
US7221420
申请日
2006-05-10
公开(公告)日
2007-05-22
当前申请(专利权)人
SONY CORPORATION
发明人
SILVERSTEIN, BARRY D. | KURTZ, ANDREW F. | MI, XIANG-DONG
简单同族
US20040179158A1 | US20060203164A1 | US7061561 | US7221420
简单同族成员数量
4
简单同族被引用专利总数
71
诉讼案件数
0
法律状态/事件
授权 | 权利转移
抱歉,您的浏览器不支持PDF预览,请点击链接下载PDF文件