专利数据库
统计分析
产业报告
专利数据监控
产业人才
行业动态
产业政策法规
维权援助
个人中心
详情
文本
图像
标题
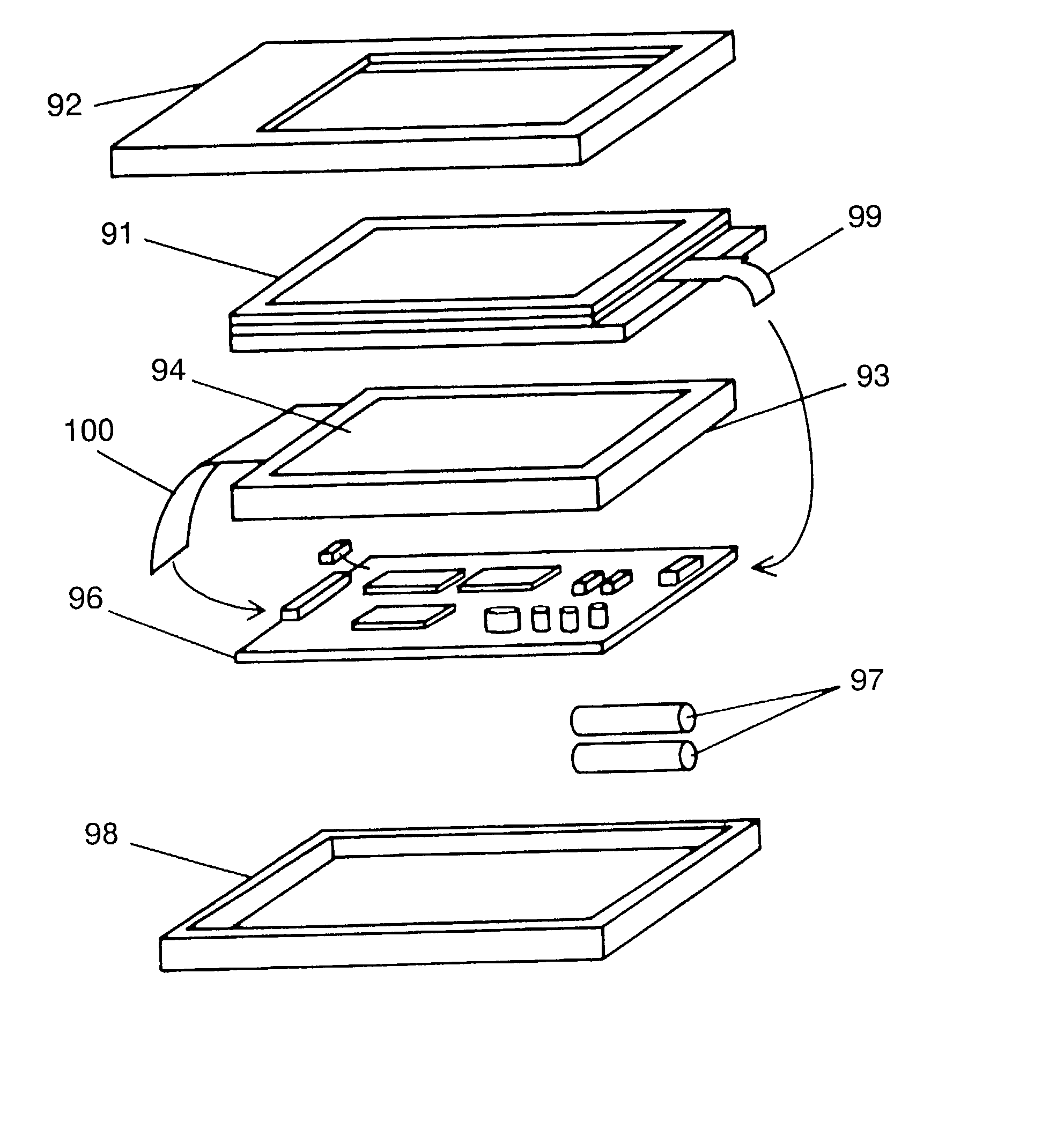
Touch panel and electronic apparatus using the same
授权日
1900-01-01
公开(公告)号
US20030071796A1
申请日
2002-10-04
公开(公告)日
2003-04-17
当前申请(专利权)人
MATSUSHITA ELECTRIC INDUSTRIAL CO., LTD.
发明人
NAKANISHI, AKIRA | YAMAUE, NOBUHIRO | FUJII, SHIGEYUKI
简单同族
JP2003114764A | US20030071796A1 | US6903729
简单同族成员数量
3
简单同族被引用专利总数
55
诉讼案件数
0
法律状态/事件
授权 | 权利转移
抱歉,您的浏览器不支持PDF预览,请点击链接下载PDF文件