专利数据库
统计分析
产业报告
专利数据监控
产业人才
行业动态
产业政策法规
维权援助
个人中心
详情
文本
图像
标题
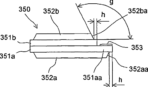
Liquid crystal panel having polarizer plates on both surfaces thereof
授权日
2011-08-02
公开(公告)号
US7990495
申请日
2009-01-16
公开(公告)日
2011-08-02
当前申请(专利权)人
SHARP KABUSHIKI KAISHA
发明人
YAMABUCHI, KOJI | KOMODA, TOMOHISA | KAIDA, KAZUYA | IZUMI, AKINORI | HORIUCHI, TAKANE | TAKABE, SHINYA | FURUYA, TOSHIMITSU | KATAYAMA, TETSURO
简单同族
JPWO2003040049A1 | KR100633488B1 | KR100675704B1 | KR1020050043770A | KR1020060039952A | SG147307A1 | TW200303296A | TWI222429B | US20050056127A1 | US20090201444A1 | US7553390 | US7990495 | WO2003040049A1
简单同族成员数量
13
简单同族被引用专利总数
195
诉讼案件数
0
法律状态/事件
授权 | 权利转移
抱歉,您的浏览器不支持PDF预览,请点击链接下载PDF文件