专利数据库
统计分析
产业报告
专利数据监控
产业人才
行业动态
产业政策法规
维权援助
个人中心
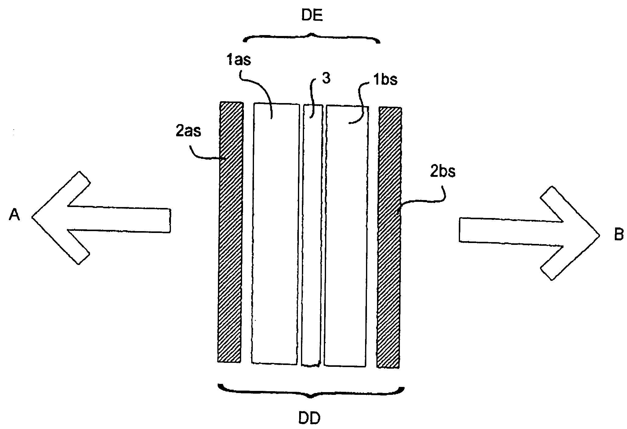
详情
文本
图像
标题
Display
授权日
1900-01-01
公开(公告)号
US20050253789A1
申请日
2003-06-13
公开(公告)日
2005-11-17
当前申请(专利权)人
SHARP KABUSHIKI KAISHA
发明人
IKEDA, HIROSHI
简单同族
AU2003242392A1 | CN1662842A | CN1662842B | EP1515181A1 | EP1515181A4 | JP4236637B2 | JPWO2004001491A1 | KR100666523B1 | KR1020050023314A | TW200403608A | TWI243932B | US20050253789A1 | WO2004001491A1
简单同族成员数量
13
简单同族被引用专利总数
67
诉讼案件数
0
法律状态/事件
撤回 | 权利转移
抱歉,您的浏览器不支持PDF预览,请点击链接下载PDF文件