专利数据库
统计分析
产业报告
专利数据监控
产业人才
行业动态
产业政策法规
维权援助
个人中心
详情
文本
图像
标题
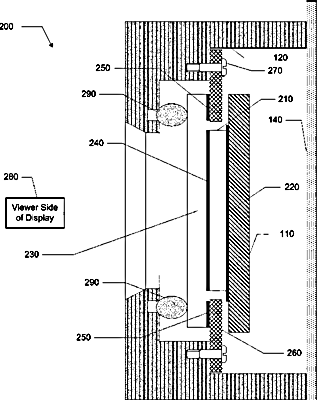
Low stress mounting support for ruggedized displays
授权日
2011-07-12
公开(公告)号
US7978281
申请日
2008-09-16
公开(公告)日
2011-07-12
当前申请(专利权)人
GENERAL DYNAMICS LAND SYSTEMS
发明人
VERGITH, NICHOLAS D. | GARRETT, DAVID A. | QUIGLEY, JOHN P.
简单同族
US20100066936A1 | US7978281 | WO2010033166A1
简单同族成员数量
3
简单同族被引用专利总数
109
诉讼案件数
0
法律状态/事件
未缴年费 | 权利转移
抱歉,您的浏览器不支持PDF预览,请点击链接下载PDF文件