专利数据库
统计分析
产业报告
专利数据监控
产业人才
行业动态
产业政策法规
维权援助
个人中心
详情
文本
图像
标题
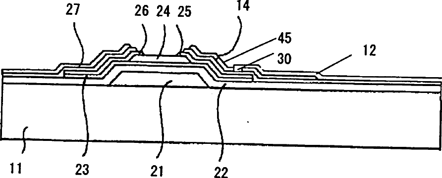
Display device and method for repairing line disconnection thereof
授权日
1900-01-01
公开(公告)号
US20060176415A1
申请日
2006-03-21
公开(公告)日
2006-08-10
当前申请(专利权)人
MITSUBISHI ELECTRIC CORPORATION
发明人
WATAMURA, SHIGEKI
简单同族
JP2004054069A | KR100750548B1 | KR1020040010118A | TW200403508A | TWI241446B | US20040016925A1 | US20060012728A1 | US20060176415A1 | US6958802 | US7042532 | US7515243
简单同族成员数量
11
简单同族被引用专利总数
116
诉讼案件数
0
法律状态/事件
授权 | 权利转移
抱歉,您的浏览器不支持PDF预览,请点击链接下载PDF文件