专利数据库
统计分析
产业报告
专利数据监控
产业人才
行业动态
产业政策法规
维权援助
个人中心
详情
文本
图像
标题
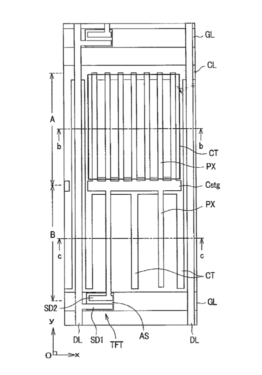
Display Device
授权日
1900-01-01
公开(公告)号
US20090207351A1
申请日
2009-04-22
公开(公告)日
2009-08-20
当前申请(专利权)人
PANASONIC LIQUID CRYSTAL DISPLAY CO., LTD.
发明人
NAKAYOSHI, YOSHIAKI | YANAGAWA, KAZUHIKO | OCHIAI, TAKAHIRO | IMAYAMA, HIROTAKA
简单同族
CN100442128C | CN101393362A | CN101393362B | CN1802599A | JP3971778B2 | JPWO2005006068A1 | TW200727057A | US20070040978A1 | US20090207351A1 | US20110211150A1 | US20120002152A1 | US7924384 | US7952673 | US8144297 | US8223306 | WO2005006068A1
简单同族成员数量
16
简单同族被引用专利总数
131
诉讼案件数
0
法律状态/事件
授权 | 权利转移
抱歉,您的浏览器不支持PDF预览,请点击链接下载PDF文件