专利数据库
统计分析
产业报告
专利数据监控
产业人才
行业动态
产业政策法规
维权援助
个人中心
详情
文本
图像
标题
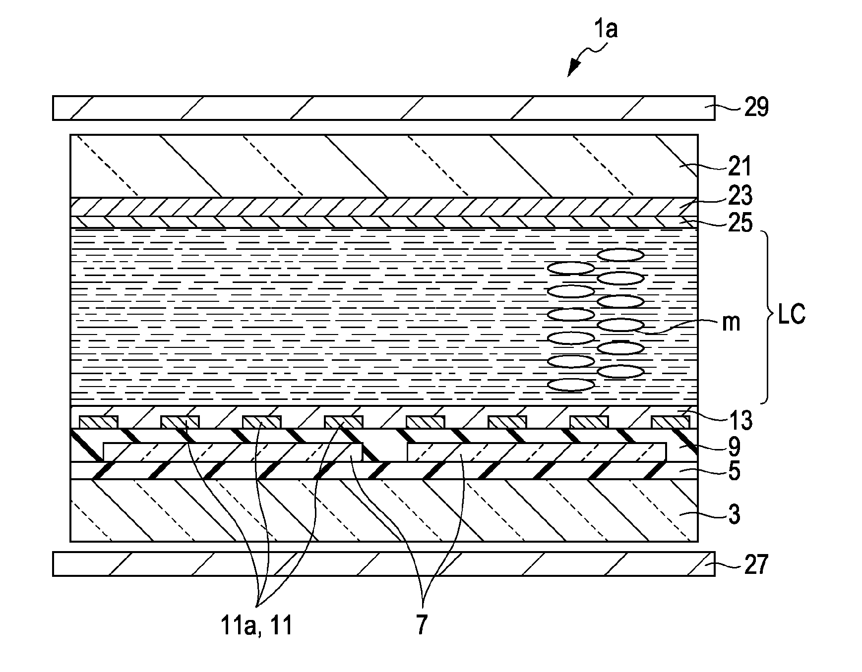
Display device, method for driving the same, and electronic device
授权日
1900-01-01
公开(公告)号
US20100128189A1
申请日
2009-11-20
公开(公告)日
2010-05-27
当前申请(专利权)人
JAPAN DISPLAY WEST INC.
发明人
TERANISHI, YASUYUKI | TAKAMA, DAISUKE | HIGASHI, AMANE | SARAI, SHIICHIRO
简单同族
CN101738792A | CN101738792B | JP2010122572A | KR1020100057515A | TW201025274A | US20100128189A1
简单同族成员数量
6
简单同族被引用专利总数
59
诉讼案件数
0
法律状态/事件
撤回 | 权利转移
抱歉,您的浏览器不支持PDF预览,请点击链接下载PDF文件