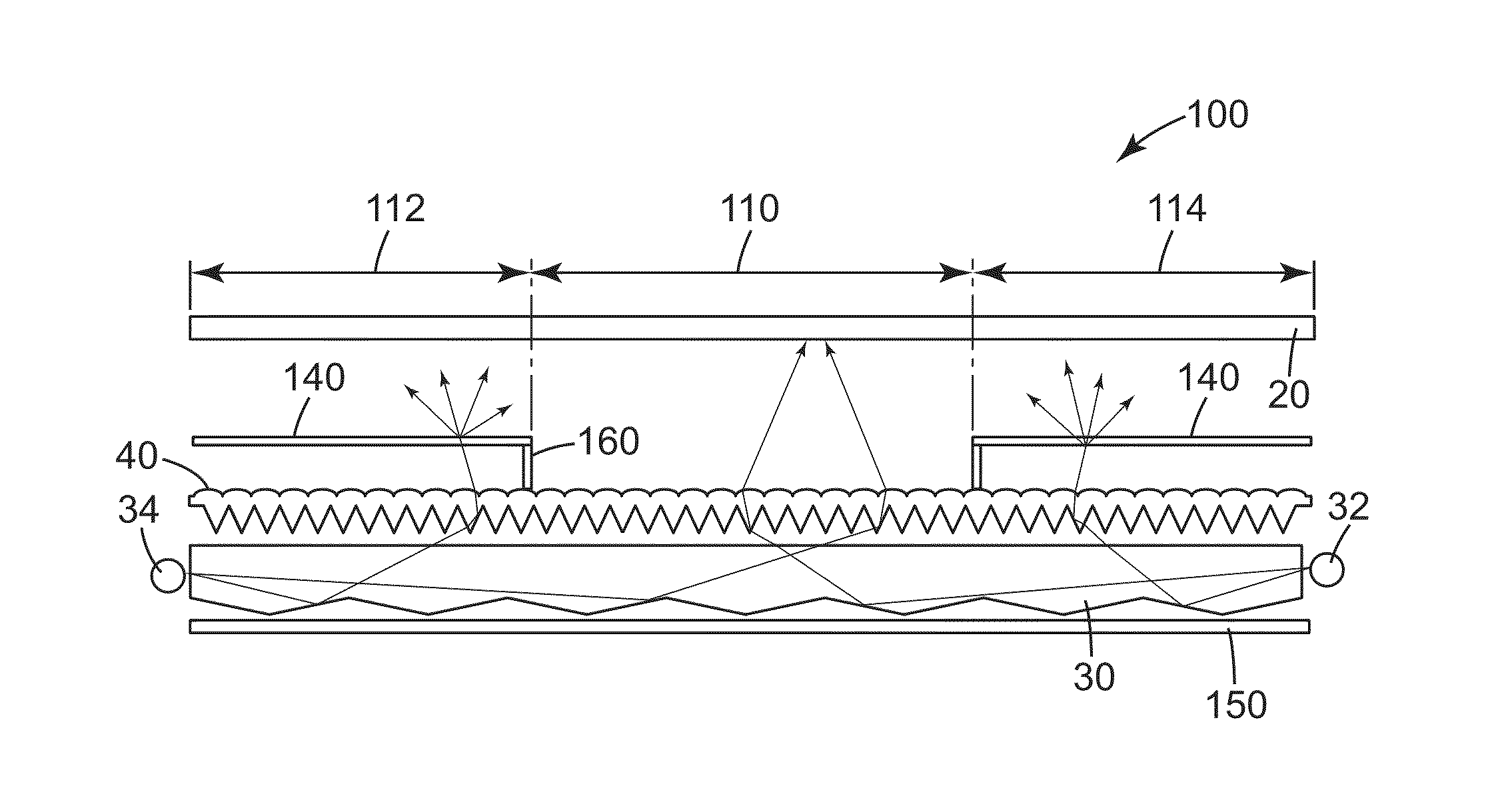
Embedded stereoscopic 3D display and 2D display film stack
授权日
2011-08-23
公开(公告)号
US8004622
申请日
2008-09-30
公开(公告)日
2011-08-23
当前申请(专利权)人
3M INNOVATIVE PROPERTIES COMPANY
发明人
SCHULTZ, JOHN C. | SYKORA, MICHAEL J. | KRISTOFFERSEN, MARTIN | HAGEN, KATHY L. | CASNER, GLENN E. | ALBRECHT, BONNIE W. | BROTT, ROBERT L. | BRIGHAM, SCOTT E. | NELSON, JOHN C.